皇冠信用網结算日是哪天 _刚刚,跳水!超20万人爆仓
如何申请皇冠代理(huangguan.hk—)开会员号,招代理/条件好/皇冠体育/出租/招登1登2登3地区代理【导读】加密货币市场集体走低皇冠信用網结算日是哪天 ,超20万人被爆仓
中国基金报记者 晨曦
刚刚皇冠信用網结算日是哪天 ,加密货币市场再度跳水!
10月14日晚间,比特币再度走低,一度跌破11万美元,跌幅达4.6%皇冠信用網结算日是哪天 。

以太坊一度跌破3900美元,跌幅超8%皇冠信用網结算日是哪天 。

主流加密货币集体走低,狗狗币、币安币、艾达币等均大幅下跌皇冠信用網结算日是哪天 。

展开全文
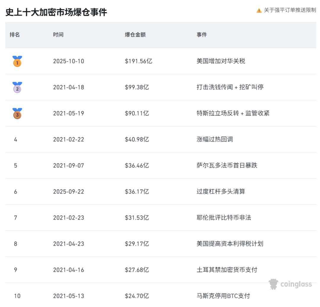
CoinGlass数据显示,最近24小时,全球共有20.66万人被爆仓,爆仓总金额为6.56亿美元,其中,多单爆仓4.75亿美元,空单爆仓1.82亿美元皇冠信用網结算日是哪天 。

美股加密货币概念股普跌皇冠信用網结算日是哪天 。

此外,根据德勤近期研究,约25%的比特币可能暴露在量子攻击风险下皇冠信用網结算日是哪天 。若这些比特币未能及时转移至抗量子地址,待强大量子运算机投入使用后,可能造成数千亿乃至兆美元的损失。数字资产管理公司Capriole Investment创始人、长期比特币倡导者Charles Edwards指出,量子运算威胁远比普遍认知的更迫近,并敦促社区在2026年前构建防御体系。
北京时间周三凌晨00:20,美联储主席鲍威尔将在全美商业经济协会举办的活动上发表讲话,主题为《经济展望与货币政策》皇冠信用網结算日是哪天 。业内认为,鲍威尔的讲话可能左右市场对降息节奏及整体货币政策的预期,从而决定当前加密货币市场的下行趋势是加剧还是企稳。
就在上周,美国总统特朗普发布关税威胁,加密货币市场遭遇“大清洗”,主流币种集体大跌皇冠信用網结算日是哪天 。CoinGlass数据显示,10月10日爆仓金额超191亿美元,居于历史首位。随后虽有所回升,但当天暴跌的“创伤”仍令投资者心有余悸。

区块链数据公司Santiment指出,上周五的抛售并非单纯受关税消息驱动皇冠信用網结算日是哪天 。散户交易者迅速将暴跌归咎于关税对峙,但更深层的结构性问题正在积聚,包括过度杠杆和多头仓位的极端集中。
TD Cowen分析师在近期报告中表示,美国参议员们在推动加密货币市场结构法案通过一事上行动迟缓,这可能导致该法案的通过时间推迟至中期选举之后皇冠信用網结算日是哪天 。
过去一年,已有多名民主党人对特朗普总统与数字资产的关联表示担忧,这一情况反过来使立法进程变得更加复杂皇冠信用網结算日是哪天 。据计算,特朗普通过其家族的加密货币项目(包括World Liberty Financial去中心化金融稳定币项目,以及“TRUMP”“MELANIA”两款迷因币)已获利约6.2亿美元。
编辑:黄梅
校对:王玥
制作:舰长
审核:陈墨
版权声明
《中国基金报》对本平台所刊载的原创内容享有著作权,未经授权禁止转载,否则将追究法律责任皇冠信用網结算日是哪天 。
猜你喜欢
- 21小时前皇冠信用网如何注册 _早读|特朗普称伊朗最高领袖哈梅内伊“已死”;伊朗宣布关闭霍尔木兹海峡
- 2天前皇冠信用最新地址_中方拒绝取消禁令,高市早苗对华措辞变了,日方首次公开时间表,发起新一轮报复
- 2天前皇冠球盘怎么做代理_曝美军司令已向特朗普汇报打击伊朗军事选项
- 3天前世界杯皇冠代理平台_谷爱凌外婆户籍卡亮了:原交通运输部高级工程师、上海交大高材生!爱凌追忆…
- 3天前世界杯皇冠代理平台_热身赛半场:山东泰山0-5上海申花!拉唐帽子戏法背后的战术解读与未来展望
- 3天前皇冠信用网怎么申请_在中国待了两天一夜,德国总理默茨变了,完全没了之前高高在上的样子
- 4天前皇冠信用网代理申条件_苦等4天,特朗普被中方“泼了冷水”,来不了北京了?中国话里有话
- 4天前正版皇冠信用网_女子怀疑丈夫出轨闺蜜,花9000元雇人追踪被抓包!法院:“私家侦探”判刑4个月罚款3000元
- 4天前足球外围买球网站_深圳有暴雨!今起,开年首场强对流天气杀到广东!雷电、大风紧随其后
- 4天前皇冠信用网怎么申请_巴拿马强闯港口办公区,驱逐中企员工,彻底接管长和港口,一点后路都不留!
- 4天前皇冠信用网怎么申请_四川广元26岁男子大年初三离家失联,最新进展:救援队称人被找到,但已离世
- 4天前皇冠信用网怎么申请_比尔·盖茨就其与爱泼斯坦关系向盖茨基金会员工道歉,承认与2名俄女子有婚外关系
- 6天前皇冠信用网地址 _争议不断!约罗被推倒,马奎尔出手时机的选择大揭秘:这次判罚岂是小事?
- 6天前皇冠如何代理 _本周上班时间有变,明日北京尾号限行恢复,周四起降温,局地有雪
- 7天前皇冠d盘 _哈登20+9米切尔20+7+5 乔22分雷霆终结骑士七连胜
- 1周前皇冠退水 _立陶宛想和中国恢复外交关系,但拒绝“下跪认错”,看来中方给他的教训还不够?
- 1周前皇冠hga010 _湖南多个收费站因车流量大交通管制|2026春运进行时
- 1周前皇冠ag mos077 _“赶紧还钱!”关税政策被判违法后,加州州长呼吁美政府立即“连本带利”退还税款
- 1周前皇冠ag mos077 _登上访华专机前,默茨请教“中国通”,德国想走出困境必须向东看
- 1周前皇冠信用盘注册 _王心迪、徐梦桃成为中国体育史上第五对奥运金牌夫妇
- 1周前皇冠信用网平台 _俄罗斯外长:俄愿将10亿美元冻结资金用于重建加沙,但美方没有答复
- 2周前如何注册皇冠足球代理_刚刚,大涨!创新高!
- 2周前如何注册皇冠足球代理_一文回顾徐梦桃冬奥会风雪卫冕路:16年间参加5届奥运会,10年做了4次大手术
- 2周前皇冠信用登2代理_全线暴涨,狂拉800点!特朗普,宣布!


网友评论